浅聊“贝岭BL”芯片的几个典型应用
关键词: 贝岭 集成电路设计 汽车充电桩 贝岭BL 上海贝岭
历届国家领导人关怀贝岭






Belling Solutions
上海贝岭在汽车直流充电桩充电模块应用的产品解决方案
PART/ 01 概述
随着新能源汽车技术的快速发展,终端应用渗透率正迅速提高,在可预见的未来,整个新能车市场的规模将会持续扩大,迈向规模化、高质量发展阶段。充电桩作为新能源汽车产业链的重要一环,加快充电桩配套设施的建设和完善对于缓解补电焦虑,推动电动汽车更深层次的普及至关重要。为了适应用户快速、安全的充电需求,提升充电桩的功率等级和效率是其发展的主流方向。
PART/ 02 直流充电模块工作原理及拓扑结构


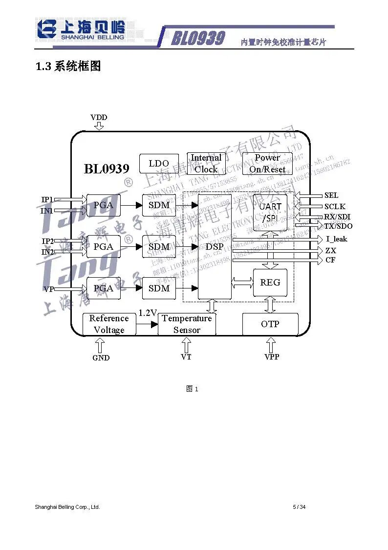
左右滑动查看BL0939 规格书
如需完整版请联系“唐辉电子”
周生13816691297(微信同号)
左右滑动查看BL0942 规格书
如需完整版请联系“唐辉电子”
周生13816691297(微信同号)
直流充电桩与电网连接,经过整流升压后,输出可调直流电给动力电池进行充电,具备调压范围宽、输出功率高,充电速度快等特点,得到了广泛应用,其整体结构框图如图1所示。功率部分由多个直流充电模块并联构成,随着直流充电桩功率的持续提高,其充电模块的功率等级亦随之增大,从主流的20kW/30kW逐步提升至40kW/50kW及以上。其系统框图如图2所示。

图1 直流充电桩结构框图
资料来源:充电桩热设计问题思考

图2 直流充电桩系统框图
直流充电模块的功率回路由AC/DC、DC/DC两部分组成。AC/DC部分连接电网侧,用于整流和功率因素校正;DC/DC部分输出可调直流电压,满足不同类型电池的充电需求。

图3 直流充电模块结构图

图4 直流充电模块典型拓扑结构
随着V2G、V2X等技术的发展,直流充电桩需要实现能量的双向流动,助力新能源行业更高质量发展。典型的双向拓扑结构如图5所示,前后级均可使用1200V的功率器件。此应用中,高压MOSFET将会展现出优异的器件特性。

图5 双向直流充电模块典型拓扑结构
PART/ 03 贝岭器件选型方案
针对直流充电桩领域,贝岭可提供完整的芯片选型解决方案,覆盖功率链和信号链等众多产品,产品型号完善、性能优异。贝岭功率器件与积塔半导体深度融合,包含MOSFET、IGBT、等全系列产品,为高可靠直流充电模块设计提供助力,具体选型如表1所示:

表1 功率器件选型列表
同时,贝岭拥有较为完善的电源管理、信号链产品可供选择,产品质量可靠、供应稳定,具备专业的全流程技术支持及售后服务能力。选型参考如表2所示:

表2 充电桩芯片选型参考
Belling Solutions
上海贝岭汽车交流充电桩解决方案
PART/ 01 概述
自2020年,国家将充电桩纳入新基建并大力发展,各类企业积极入局,现已进入行业发展关键期,将迎来爆发增长。预计到2030年,中国新能源汽车累计销量将达到6420万辆,《电动汽车充电基础设施发展指南》中提到的建设目标是车桩比基本达到1:1,但目前的车桩比保持在3:1附近。充电桩仍存在较大的缺口,现保守估计2025年左右车桩比达到2:1左右,当前市场规模不足300亿,根据目前对新能源汽车销量的预测可大致计算出2025年充电桩市场规模将突破1035亿元,发展前景巨大。
充电桩典型产品(图1)及现在主流的连接方式C(图2)如下所示。
典型产品

图1 充电桩产品图
交流充电桩连接方式C
将电动汽车和交流电网连接时,充电桩使用带有车辆插头的活动电缆。配置符合国家标准的7芯交流充电插座,按照国家标准定义的电气、尺寸安装充电插座。采用桩带插座的模式,也是目前行业上最流行,电缆独立活动,提供用户更方便的应用,可降低整机成本、易装配。

图2 充电桩连接方式C
PART/ 02 交流充电桩典型拓扑和工作原理
以某款交流汽车充电桩为例,整机的框架结构如图3所示。

图3 交流充电桩框图
主要由电气模块、计费及充电控制模块、人机交互模块、通讯模块和后台服务器五大部分组成。
电气模块
包括交流接触器、漏电断路器、电压电流监测、交流充电插头及电缆、安全防护装置等。
计费及充电控制模块
包括电压电流采集单元、二维码认证、充电控制单元、计费控制单元。电压电流采集可以采用电能表对充电电量进行计量,也可以用被检测机构认证过的计量模块实现。
人机交互模块
包括指示灯、智能手机、刷卡器RFID、触摸显示屏等。
通讯模块
充电桩、智能手机和后台,三方互相通讯。
后台服务器
强大的后台管理功能,可实现远程升级、负载平台的运维功能、子账户管理、账单管理、权限设置、监控展示、充电启停功能等。
上海贝岭为汽车交流充电桩提供的产品解决方案
经过多年的积累,上海贝岭可提供一整套覆盖接口、数字隔离、存储、计量、电源管理、MOSFET的汽车交流充电桩解决方案。
接口
上海贝岭RS-485产品系列丰富,所有产品均满足TIA/EIA-485-A标准,并有多款产品通过国家电网计量中心检验,产品针对电力行业应用的复杂性进行了专门设计,拥有多项专利。针对汽车交流充电桩,RS-485系列产品如表1所示。

表1 RS-485选型表
存储器
针对交流充电桩,上海贝岭提供的EEPROM产品支持IIC、SPI多种接口,且封装形式多样,以满足客户的需求,产品如表2所示。

表2 存储器选型表
计量
针对汽车交流充电桩,上海贝岭提供专业的单相和三相计量产品,有免校准和整机校准型,具有高精度和宽动态范围的特点,型号如表3所示。

表3 计量选型表
电源管理
电动汽车交流充电桩通常内置开关电源,上海贝岭AC/DC产品线丰富,分为PSR和SSR,针对汽车交流充电桩,有成熟方案的AC/DC产品选型如表4所示。

表4 AC/DC选型表
开关电源输出12V通过DC/DC和LDO降压后给控制器供电,针对交流充电桩,上海贝岭DC/DC产品(表5)和LDO产品(表6)如下所示。

表5 LDO选型表

表6 LDO选型表
MOSFET
开关电源部分,上海贝岭可根据客户的需求提供不同电压等级和电流的高品质高压平面 MOSFET,选型表如下(表7)所示。

表7 MOSFET选型表
Belling Solutions
上海贝岭在其他领域应用的产品解决方案



文章部分内容转载自上海贝岭官微,感谢贝岭的技术支持。
要购买MCU、晶振、RTC时钟芯片、电池、贝岭芯片、PPTC自恢复保险丝等电子元器件,
请找“唐辉电子”,专业!
有FAE技术支持团队随时为您服务!
贝岭授权给“唐辉电子”的代理证书






