37亿元!国资主导国产IC载板公司安捷利美维46%股权挂牌转让
关键词: 安捷利美维 国资整合 IC载板 FCBGA封装基板
近日,安捷利美维电子(厦门)有限责任公司(以下简称“安捷利美维”)46%股权正式于产权交易平台挂牌转让,转让底价约37.03亿元。此次重大股权变动由多家具有国有背景的股东联合发起,被视为国资在高端电子制造领域进行战略性资源整合的关键举措,引发行业高度关注。

本次股权转让由安捷利美维的三大国有股东同步推进。其中,美智投资(厦门)有限公司(持股53%)拟转让12.41%股权;厦门半导体投资集团有限公司(持股40%)拟转让27.59%股权;安捷利(番禺)电子实业有限公司(持股6%)拟全额转让所持6%股权。

三方合计出让股权比例达46%。据悉,原股东已全部放弃优先受让权,且此次股权转让行为已获得厦门市海沧区人民政府批准,程序规范完备。
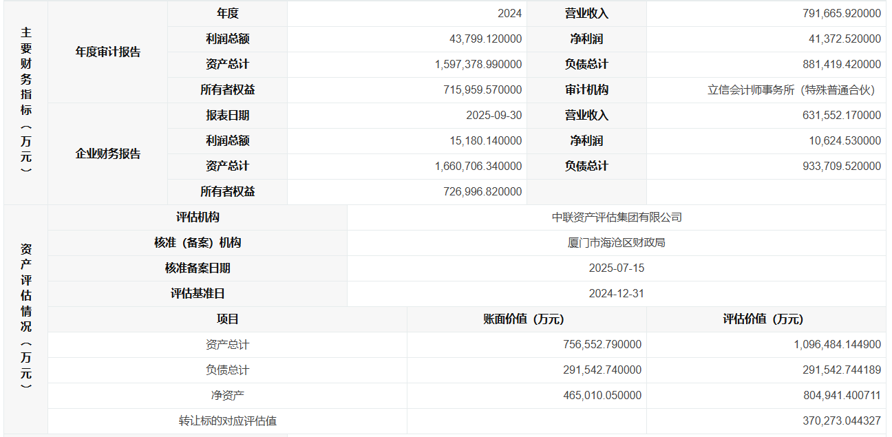
根据中联资产评估集团出具的评估报告,以2024年12月31日为评估基准日,安捷利美维净资产账面价值为46.50亿元,评估价值高达80.49亿元,增值显著。本次转让标的对应的评估值即为37.03亿元,体现了市场对其资产质量与发展潜力的认可。
安捷利美维成立于2019年12月,是一家国有控股的中型企业,注册资本高达45亿元。公司业务布局深入电子制造核心领域,覆盖FCBGA封装基板、类载板、高阶及任意层互连HDI、软硬结合板及软板、贴片及组装、动力电池模块等,能够为全球客户提供高密度电子电路一站式解决方案。
公司在全球范围内拥有完善的生产与服务网络,在厦门、上海、苏州、广州、福州及泰国均设有生产基地,服务网络辐射亚洲、欧洲及北美洲市场。

从财务数据来看,安捷利美维展现出较强的经营实力。2024年,公司实现营业收入79.17亿元,净利润4.14亿元,资产总计159.74亿元。2025年前三季度,营业收入已达63.16亿元,净利润1.06亿元,资产总计进一步增长至166.07亿元。
此次国有资本主导的大规模股权转让,清晰地传递出国资层面整合电子制造产业链资源的战略意图。安捷利美维所从事的FCBGA封装基板、类载板等业务,属于半导体及电子电路产业中的关键环节,技术壁垒高,战略意义重大。
在当前全球供应链格局重塑、国内产业升级加速的背景下,通过股权运作优化资源配置,有望进一步提升相关业务的竞争力与市场集中度。此次股权转让完成后,谁将接手这46%的股权,将成为观察电子制造产业资本动向与未来格局演变的重要风向标。